正义反腐网·《反腐廉政月刊》杂志社综合讯:(公民记者程敏报道)2025年9月8日,中国玩具制造商泡泡玛特股价大幅下跌7.11%,市值蒸发295.45亿港元。尽管当日被纳入恒生指数,但这一利好未能逆转颓势。股价承压源于核心玩具拉布布(Labubu)二手市场价格持续下滑。专家表示,泡泡玛特存在非理性泡沫,可能引发价格自我弱化并持续下跌。

▲2025年6月20日,人们在北京永乐拍卖行参观限量版的拉布布玩具。(图片来源:资料图)
北京泡泡玛特文化创意有限公司(简称“泡泡玛特”HK.09992)9月8日盘中一度下跌8.85%,收盘报287.6港元/股,全天跌幅为7.11%。市值较前一交易日缩水295.45亿港元。当天,恒生指数有限公司宣布将泡泡玛特纳入恒生指数,自当日生效。然而,这一调整未能提振股价。
泡泡玛特自8月26日创出339.8港元/股的历史高点以来,迄今股价已累计回撤11.94%,远超同期恒生指数0.76%的回调幅度。
市场人士分析,泡泡玛特股价下跌与Labubu系列产品二手市场表现密切相关。第一至第三代Labubu二手价单日跌幅达3~11元(人民币,下同),第四代迷你Labubu二手成交均价较发售初期缩水超50%。
8月28日,泡泡玛特第四代迷你Labubu系列线上发售,单只售价79元,A/B组各1,106元。开售首日引发抢购,多平台迅速售罄。二手平台整盒价格一度飙至3,200元,隐藏款成交价近千元。不过,热度快速消退。截至9月8日,得物App数据显示,迷你版Labubu成交均价回落至107元,整盒价格降至1,446元。闲鱼平台近7日平均成交价为105元,较上周下跌5元。

▲北京泡泡玛特文化创意有限公司大楼(图片来源:网络)
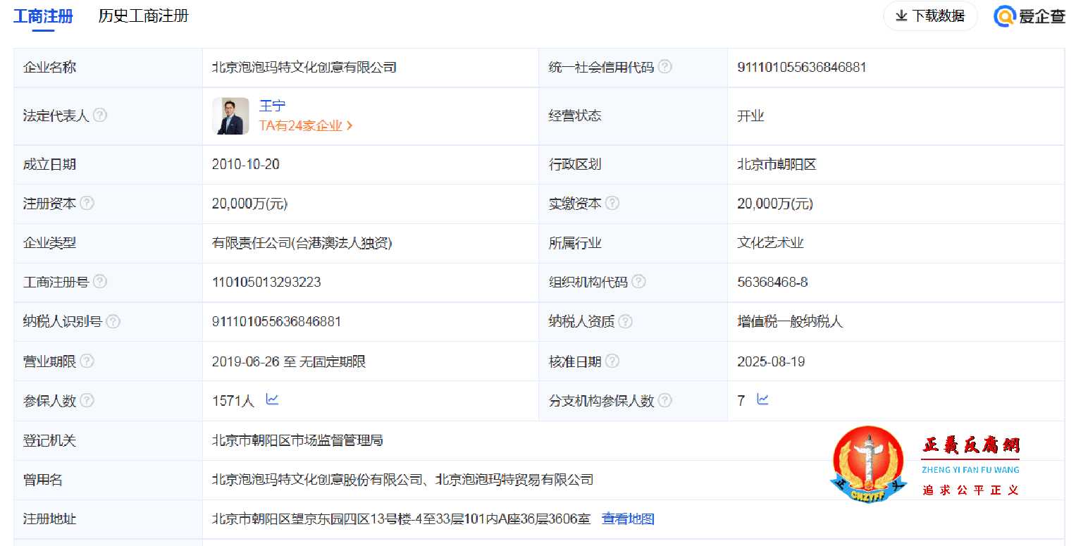
据爱企查资料显示,北京泡泡玛特文化创意有限公司,2010年10月20日创立,法定代表人王宁,曾用名:2016年7月5日企业名称“北京泡泡玛特贸易有限公司”、于2019年5月6日变更后企业名称“北京泡泡玛特文化创意股份有限公司”,股东名称 POP MART(HONG KONG)HOLDING LIMITED(中文:泡泡玛特(香港)控股有限公司),占持股100%,参保人数1571人。

▲北京泡泡玛特文化创意有限公司工商注册信息(图片来源:爱企查网站 / 截图)
知名经济学家盘和林对《21财经网》分析,潮玩企业股价与产品需求相关,Labubu存在非理性泡沫,价格具有自我强化和弱化功能,一旦进入颓势,可能无休止下跌。恒生指数纳入虽带来指数基金增配,但资金推高的股价难以持久。
拉布布于2015年首次亮相,在2019年与泡泡玛特合作后获得了更广泛的关注。这次合作提升了拉布布在收藏家中的人气。2024年4月,拉布布因为BLACKPINK成员Lisa被拍到携带它而广受关注,包括毛绒玩具和挂在包包上的钥匙圈。



分享



